애플의 핫스팟을 활용한 지역 타게팅 광고

[요약] 지역 매장에 RF태그나 와이파이망을 통해 스마트폰으로 해당 매장의 쿠폰 제공 등 지역 타게팅 광고를 할 수 있는 애플의 특허.

2008년 11월에 출원되었고, 2010년 5월 20일에 공개된 애플의 타게팅 광고 관련 특허를 소개해 드리겠습니다. 제목은 “동적 가격 계획에 따른 상황 광고를 제공하기 위한 시스템 및 방법(System and method for providing contextual advertisements according to dynamic pricing scheme)”입니다.(원본 링크: USPTO:20100125492, PDF:pat20100125492)
제목에서 알 수 있듯이, 출원된 내용의 주제는 광고주로부터 적절한 광고를 받아 타겟 사용자에게 전송하고, 사용자로부터 수신하는 마케팅 요소(Marketing Factor)를 평가하여 변동 가격을 적용하여 과금한다는 내용입니다.

과금은 확률기반(Probability-based), 결과기반(Results-based), 또는 두가지의 혼용이 사용되는데, 어렵고 새로운 개념은 아닙니다. 확률기반이라함은 사용자의 정보를 미리 분석하여 광고 적합성 정도에 따라 광고 단가를 책정하는 방식이고, 결과기반이라함은 광고에 대한 사용자의 액션을 바탕으로 광고 단가를 책정하는 방식입니다.
이해를 돕기 위해, 추가 설명을 하자면, 확률기반의 기준이 되는 마케팅 요소(Marketing Factors)는 다음과 같습니다.

  • How Initiated: 광고를 불러낸 방법(아래에 다시 설명)
  • Time of Day: 광고를 전송하는 시각
  • GPS Location/Distance from Subject of Ad: 광고의 주제(예를 들어 특정 가게)로부터의 위치/거리
  • Prior Success in Marketing to User: 이전 광고물에 대한 사용자 반응 결과
  • User Preference: 사용자 선호
  • Weather/Weather Forcast: 날씨/기상 예보
  • Search History/Web History: 검색 이력/웹 이력
  • Content of Media Library: 미디어 라이브러리 내용
  • Loyalty Program Membership: 멤버쉽
  • Factors Associated with Family/Friends: 가족/친구와 연관된 요소들

결과기반의 기준이 되는 후속 요소(Follow-up Factors)는 다음과 같습니다.

  • Purchase Made: (광고를 보고) 구매가 이루어짐
  • Subsequent GPS Location: 이후 GPS 위치
  • User Entered Store: 들어간 가게
  • Subsequent Related Purchases: (동일한 광고주의) 이후 관련 구매
  • Subsequent Membership in Loyalty Program: 이후 멤버쉽 가입
  • Purchase made by Family/Friends: 가족/친구들에 의한 구매
  • Extent User Explores Advertisement: 다른 광고로의 확장
  • Sent to Friend: 친구에게 (광고를) 전달

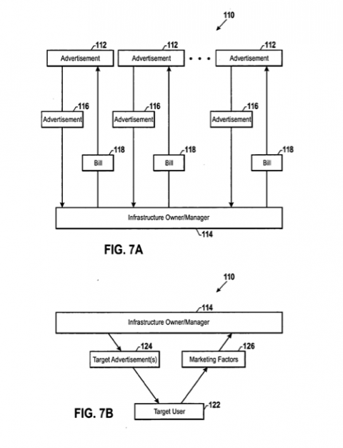
하지만 이런 요소들이 정확히 어떻게 측정되고 어떤 기준으로 평가되는지에 대한 자세한 설명은 없습니다. 그저 개념적인 내용에 그치고 있는데, 이 공개 문건이 주목받고 있는 부분은 그 보다는 바로 위 그림(Fig. 7)에서 “Infrastructure”라고 표현된 부분입니다.

이 인프라는 RF 태그를 이용한 NFC(Near Field Communication) 인터페이스를 위한 시설일 수 있습니다. 예를 들면, 역사적 위치에 안내판을 놓고 태그를 심어놓을 수 있을 것입니다.

이 경우, 단말에 RF 수신기가 있어, 그 태그에 반응하면, 해당 안내판에 대한 정보 애플리케이션이 뜨면서 아울러 주변 시설에 대한 광고 정보가 따라붙는 시나리오입니다.

태그 방식 이외에 일반적으로 이 인프라는 인터넷 접속을 제공하는 시설을 의미하며, 대개는 무선 인터넷 접속, 즉 요즘 주목받고 있는 Wi-Fi 핫스팟을 의미합니다.(물론 이동전화망과 웹 서비스도 명기하고 있습니다만)
그리고 그 인프라에 대한 소유주로 가게, 식당, 쇼핑몰, 카지노, 박물관, 공항, 기타 공공시설, 지방자치단체 등을 명기하고 있습니다.
즉, 예를 들면, 스타벅스의 무료 핫스팟, (아직은 없지만) 지하철의 무료 핫스팟을 통해 이런 타겟 광고를 운영하게 된다는 얘기입니다.

위 그림의 예를 보자면, 346은 지하철역에 설치된 핫스팟이고, 사용자 352가 일정한 영역 350에 들어오게 되면 타겟 광고 정보를 받게 됩니다. 광고주는 예를 들면 354에 위치한 업장이 되겠죠. 아래 그림에서 처럼, 사용자가 핫스팟 주변의 일정 영역에 들어오게 되면, 핫스팟에서 전송하는 비콘 신호를 수신하게 됩니다.

사용자 단말에는 아래와 같이 나타날 수 있습니다. 비콘으로 받은 타겟 광고수가 웹브라우저(사파리) 아이콘에 표시됩니다. 이 아이콘을 누르면 (예를 들면) 지하철공사 홈페이지가 뜨면서 해당 광고들이 리스트업되는 것입니다. 이 광고를 선택하면 카메라로 바코드 쿠폰을 찍으라는 등의 광고가 뜨는 것이지요.

또는 아래의 그림처럼 주변 핫스팟을 검색하는 애플리케이션을 이용할 수도 있습니다. 주변 핫스팟 정보를 제공하면서, 해당 핫스팟에서 운영하는 광고리스트를 보여주는 것입니다.

또는 아래 예처럼, 지역 쿠폰을 검색하는 애플리케이션을 이용할 수도 있겠지요. 근처 핫스팟으로부터 날아오는 광고들을 카테고리별로 탐색할 수 있도록 제공합니다.

지도 애플리케이션을 이용할 수도 있을 겁니다. 주변의 핫스팟과 광고 업장 정보를 제공하는 것이죠.

웹브라우저를 통한 검색 결과로서 위 정보를 보여줄 수도 있겠지요.(이 경우는 단말의 개인 정보를 웹서버에 올려야하는 기술적, 보안적인 사소한 문제들이 좀 있겠지만요…)

재미있는 개념입니다. (사실 비슷한 컨셉들이 이미 있었던 것으로 기억됩니다만)
제 생각에는 이 공개 문건의 내용이 아이폰이라는 실제 단말에 구체적이고 실질적으로 기술되어 있다는 점에서 구현 가능성이 상당히 높다는 생각을 하게 됩니다.
예를 들어, 애플이 협력하고 있는 AT&T (또는 KT)가 구축하는 와이파이망에 이런 개념의 광고 상품을 “아이애드(iAd)” 브랜드 하에 운영을 한다고 생각해 봅시다. 상당히 효과적인 지역 광고 수단이 될 수 있습니다.
제가 지난번에 아이애드에 대해 포스팅했을 때 주장했던 바는, 아이애드가 단순히 양방향이 강화된 디스플레이 광고로서만 바라봐야 되는 것이 아니라, 독점적 운영체계를 기반으로하는 위치 기반 광고의 가능성을 더 크게 봐야한다는 것이었습니다.

2010/04/09 모바일 광고의 폭풍 전야, 아이애드(iAd)

애플이 광고 사업을 본격적으로 시작했다면, 단순히 남들이 하는 디스플레이광고 하자고 덤비지는 않았을 것입니다. 자체 플랫폼의 잇점을 최대한 살리는 이런 광고를 구사하겠죠.
그래서 구글의 애드몹 인수가 애플에게는 그리 위협적이지 않을 수 있도 있는 것입니다. 애플이 필요한 것은 애드몹의 혁신적인 디스플레이 광고 포맷이 아니고, 광고 영업을 잘 할 수 있는 광고 산업계의 네트워크였던 것이죠.

그럼 이제 구글과 애플의 광고 전쟁도 재미있게 관전해 봅시다.

[게몽]

+ Patently Apple

+ 갑자기 생각난건데, 이 솔루션을 foursquare에 접목하면 딱이겠다 싶네요. 체크인 피로감에 대한 해결책으로요.

+ 그리고, 노회찬 서울시장 후보의 무료 지하철/버스 핫스팟 공약의 해법으로 충분히 고려해 볼 만한 솔루션이 아닐까 싶기도 합니다.

+ 회선사업자(KT, SKT/SKB)가 이런 솔루션을 도입해 광고BM이 가미된 핫스팟 상품을 오프라인 매장에 팔아먹을 수도 있을 것 같네요.

Update: 2011.6.14.
이 글의 원문은 여기에 있습니다. 포스팅 시각은 원문과 맞췄습니다. 글 서두에 [요약]문을 추가했습니다.

6 Comments

의견 남겨주세요. 고맙습니다!