[요약] 3D가 제대로 어필을 하려면, 안경없이 볼 수 있는 기술이 나와야 하는데, 현재는 2D로 3D를 페이크하는 다소 조악한 방법이 주를 이루고 있습니다. 하지만, 보는 사람과 위치에 따라 3D 영상을 커스터마이징하는 애플의 특허나, 헤드 트래킹, 디스플레이의 기울기 상태를 감지하는 방식 등 여러가지 기술들이 시도되고 있습니다.
특히 올해 3D TV가 전면에 나섰습니다. 이미 작년초부터 조짐은 있었습니다만, LED에 빛을 가려 숨을 죽이고 있다가 일제히 터뜨리고 나섰습니다. 하지만, 시장은 그리 녹녹치 않습니다. 비단 컨텐트 부족의 문제만은 아닙니다. 기술 자체가 숙성되어 있지 못한 이유가 크죠.
일반적으로 구현되는 3D는 왼쪽과 오른쪽에 시차(parallax)를 둔 다른 영상을 보여주는 방식입니다. 이를 가장 쉽게 구현한 것이 바로 3D 안경이죠. 그러나 아시다시피, 3D 안경 기술은 New Technology가 아닙니다. 수동형인 편광안경은 이미 1930년대, 능동형인 셔터안경도 1970년대에 나온 개념이죠. 이 기술의 문제는 어지러움, 피로감 등의 부작용은 차치하고라도, 부가적인 안경을 써야 한다는 사실일 것입니다. 3D 디스플레이의 기술은 안경을 뛰어넘는 뭔가가 필요하다는 게 중론이지요.
일단 안경을 벗겨야합니다. 안경을 벗고서도 3D를 구현하는 방식을 Autostereoscopy(우리말로 ‘자동입체방식’ 정도로 하면 될까요)라고 합니다. 궁극적인 의미에서는 실제 3D 영상을 보여주는 홀로그래픽 디스플레이가 답이 되겠지만, 스타워즈의 로망을 가지고 있는 소비자들의 기대 수준에 미치기에는 아직 그 기술이 미미합니다.

2007/08/11 레이아 공주 홀로그램 메시지의 추억
그래서 아직은 2D로 3D를 fake하는 방법이 가장 경제적인 솔루션입니다. 그중에서도 가장 쉬운 방법은 스크린 자체에 3D 안경을 씌우는 방법이죠. 일반적으로 두가지 방법이 있는데, 하나는 Parallax Barrier라는 방식이고, 또다른 하나는 Lenticular Lens 방식입니다. 전자는 스크린에 왼쪽, 오른쪽 영상을 세로로 번갈아 출력하고, 그 앞에 세로 슬릿, 즉 Parallax Barrier을 두어 각각의 영상이 두 눈에 따로 도달하도록 하는 방식입니다. 후자는 비슷한 3D 영상을 굴곡 렌즈를 통해 굴절시켜서 두 눈에 도달하게 하는 방식으로 어릴적 보는 방향에 따라 서로 다른 그림을 보여주는 입체 판박이가 동일한 원리입니다. (아래 그림 출처는 여기)
Parallax Barrier 방식
Lenticular Lens 방식
이 방식의 가장 큰 문제점은, 첫째, Sweet spot 이외의 시청 위치에서는 3D 영상이 제대로 보이지 않는다는 것, 즉 시청 위치를 적당한 거리와 위치에 고정시켜야 한다는 것이고, 둘째는 수평으로는 3D가 되는데 수직으로는 도무지 효과를 줄 방법이 없다는 것이죠.
이와 관련해서, 얼마전 기사화된 애플의 특허를 주목할 필요가 있겠습니다. (PDF:pat7843449)
2006년 9월 20일에 출원하여, 2010년 11월 30일에 특허를 부여받은 것인데, 이 발명의 명세(DISCLOSURE OF THE INVENTION) 부분을 한 번 보시죠.
당 발명은 사전정의된 각-대응 반사 표면 함수의 프로젝션 스크린을 갖는 3차원 디스플레이 시스템을 제공한다. 3차원 이미지는 프로그래머블 거울의 편향각 조정을 정의하기 위한 사전정의된 각-대응 반사 표면 함수에 따라 각각 변조된다.
The present invention provides a three-dimensional display system having a projection screen having a predetermined angularly-responsive reflective surface function. Three-dimensional images are respectively modulated in coordination with the predetermined angularly-responsive reflective surface function to define a programmable mirror with a programmable deflection angle.
어렵습니다. (-_-;)
좀 더 자세한 설명을 보시죠.
당 발명의 어떤 구현에 따라서는, 하나 또는 그 이상의 시청자의 위치 역시 실시간으로 추적되어 시청자들에게 프로젝트되는 3D 이미지가 지속적으로 각 시청자 개인별로 커스터마이즈될 수 있다. 실시간 시청자 위치 추적은 3D 이미지가 수평은 물론 수직 시차까지 사실적으로 보여진다. 또한, 각 3D 이미지는 시청자들의 개인별 시청 위치의 움직임에 따라 조정될 수 있어서, 다이나믹하고 변화될 수 있는 환경에서 개인별로 커스터마이즈되고 개인화된 3D 이미지를 보여줄 수 있다. 더 나아가서, 위치 추적과 위치적 대응 이미지 조정은 사실적 홀로그래픽 시청 경험을 합성할 수 있다.
In accordance with certain embodiments of the present invention, the positions of one or more observers are also tracked in real time so that the 3D images that are being projected to the observers can be continually customized to each observer individually. The real time positional tracking of the observer(s) also enables 3D images having realistic vertical as well as horizontal parallax. In addition, each 3D image can be adjusted according to the observers’ individually changing viewing positions, thereby enabling personally customized and individuated 3D images to be viewed in a dynamic and changeable environment. Further, the positional tracking and positionally responsive image adjustment enable synthetization of true holographic viewing experiences.
여기에 중요한 개념이 있습니다. 시청자의 위치 추적을 통해 3D 이미지를 합성해 내는 것까지는 새로울 바 없는데, 한 사람의 시청자가 아니고 복수의 시청자들의 개별적으로 추적해내서, 각자에게 맞는 이미지를 실시간으로 합성해서 개별적으로 동시에 뿌려 준다는 것이 이 기술의 핵심입니다.
이게 어떻게 가능할까요. 사실 된다는 사실만 알면 구현되면 그만이니 자세히 알 필요는 없으나, 그래도 호기심이 나니 한번 특허 내용을 더 까보겠습니다.

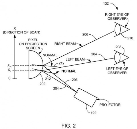
122의 프로젝터는 영상을 뿌려주는 기능을 하는데, 이전 단계에서 왼쪽, 오른쪽의 두개의 영상을 미리 분리하는 원리는 똑같습니다. 그 두개의 영상을 어떻게 스크린에 뿌려져서 시청자의 두 눈에 도달하느냐인데, 위 그림에는 나와있지 않지만, 3D Imager라는 장치가 각 시청자의 거리, 두 눈의 위치 등을 파악하고 이를 분석하여 122 프로젝터가 각 시청자에 맞는 유니크한 영상을 만들어 스크린에 뿌리게 됩니다. 스크린의 각 픽셀은 위 그림과 같이 구형의 편향 조정이 가능한 programmable mirror가 각 시청자에게 맞는 픽셀을 시청자 두 눈의 위치에 맞게 반사시켜주는 것입니다.
실시간으로, 여러 시청자에게 동시에 다이나믹한 영상 합성을 통해 구현한다는 얘기인데, 개념적으로는 훌륭하나, 기술적으로 정말 실현할 수 있는지는 잘 모르겠습니다. 아마도 현실화까지는 아직 요원하지 않을까하는 생각이 드네요.
어쨌든, 이런 특허를 이미 2006년에 출원했다고 하니, 애플의 치밀한 미디어 장악 노력이 느껴집니다.
안경없는 3D에서 빼놓을 수 없는 분야가 또 있죠. 바로 head(eye) tracking 기법을 활용한 3D입니다. 애플의 예에서도 사용자의 시청 자세나 위치를 통해 영상을 실시간으로 합성하는 얘기가 나오는데, 원리적인 개념은 같습니다. 사실 2D로 3D를 가장 자연스럽게 구현할 수 있는 방법이라고 할 수 있죠.
그동안 제 블로그를 통해 여러차례 소개했었는데, 한번 참고해 보십시오.
![]()
2008/02/28 PS3 Eye를 이용한 Headtracking
2008/03/21 faceAPI: 또다른 headtracking solution
2008/04/14 Johnny Lee’s Wiimote Hack Demo @ TED
2008/08/06 3D 데스크탑 : Parallax Augmented Desktop
2010/02/27 얼굴 트래킹을 이용한 DSi의 3차원 게임
얼굴의 움직임을 감지하는 방식이 있는가하면, 디스플레이의 움직임을 감지해서 똑같은 효과를 내는 솔루션도 있습니다. 도시바에서 소개한 기술입니다.

물론 사용자가 디스플레이를 직접 원하는대로 움직일 수 있는 모바일 단말에서 적용될 수 있는 것이긴 한데, 자이로센서등을 통해 디스플레이의 기울기를 감지하여 3D의 효과를 주는 방식입니다. 아래 동영상 참조.
(via CrunchGear)
실용성과는 약간 거리가 먼 좀 독특한 방식인데, 세장으로 레이어된 투명한 반사판을 장착해 아이폰의 스크린을 분할 반사하는 방식으로 3D로 구현해낸 액세서리도 있었지요.

2010/11/18 아이폰 시장이 만들어내는 상상력
어쨌든, 3D 안경을 써야하는 작금의 3D 기술로는 3D 시장을 크게 키울 수 없습니다. 무슨 기술이 되었든, 안경을 벗고 자유롭게 3D를 즐길 수 있는 시대가 빨리 와야 가능한 얘기가 될 것 같습니다.
[게몽]
- 프린팅 분야에서는 진작부터 3D 분야의 발전이 있어왔었습니다. Gizmag의 기사에 소개된 Zebra Imaging 사의 디지털 프린팅 기술을 덧붙입니다.

놀랍게도 360도 컬러 3D를 디지털 프린팅 방식으로 구현해내고 있습니다. 아래 소개 동영상도 참고.
원리를 정확히는 알 수 없으나-아마도 애플의 특허와 비슷하게, 반구형 Lenticular Lens에 매핑되는 이미지를 프린팅하는 방식이 아닐지-, 홈페이지에 설명된 ‘How it works’ 내용을 첨부합니다.
지브라 이미징은 3D 디지털 데이터로부터 생생하고 실제같은 홀로그래픽 이미지를 가능케하는 레이저, 광학, 이미지 프로세싱에 특허등록된 선진 기술을 가지고 있다. 자사의 프로세스는 CAD 모델, 레이저 스캔, 위성 이미지를 포함한 다양한 디지털 파일 포맷의 소스 데이터를 수용하게끔 설계되어 있다. 우리는 그 데이터들을, 레이저 빛을 사용하여 간단한 할로겐이나 LED 광원을 통해 볼 수 있는 개별 포터블의 필름 기반의 홀로그램으로 기록되는 수만개 컴포넌트의 ‘Hogel’ 이미지로 그려낸다. 그 홀로그램들이 비춰지면, 그 빛들이 hogel들에 의해 반사, 제어되어, 물리적 모델이 실제 거기에 있는 것처럼 홀로그램 표면으로부터 결합되어 나타나게된다.
Zebra Imaging has patented advances in lasers, optics and image processing that enable it to create vivid, lifelike holographic imagery from 3D digital data. Our process is designed to accept a wide array of source data digital file formats — including CAD models, laser scans and satellite imagery. We render the data into tens of thousands of component “Hogel” images that are recorded using laser light into a single portable, film-based hologram that can be viewed with a simple halogen or LED light source. When the hologram is illuminated, the light is reflected and controlled by hogels and combines and emerges from the hologram surface in the same way it would if a solid physical model were actually there.
-
검색을 해보니 Zebra Imaging에 대해서는 이미 2005년 포브스 기사에 자세히 설명되어 있네요.

플라스틱 폴리머 표면에 레이저로 이미지를 커팅하는데, 기존에는 기술이 떨어져 왜곡이 심하기 때문에 수직으로만 조각을 냈는데, Zebra에서는 구형 렌즈로 정교하게 커팅을 한답니다. 그래서 360도로 비교적 정확한 이미지를 보여준다는군요. -
보는데 불편함이 존재한다는 사실은 3D의 가장 큰 문제점. 이것을 해결하지 않으면, 결코 대중화될 수 없을 것입니다.
3D영상 시청 후 15분 가장 불편…첫 임상 권고안 [ZDNet] -
닌텐도에서는 6세 이하 3DS 사용을 경고.
Nintendo Japan Warns Kids Under 6 to Avoid 3DS [Wired] -
안경이 아니라 눈을 직접 깜빡이게 하는 놀라운 기술도 있네요! (via Engadget)
wierdo…
Update: 2011.6.14.
이 글의 원문은 여기에 있습니다. 포스팅 시각은 원문과 맞췄습니다. 글 서두에 [요약]문을 추가했습니다.

